Корзина пуста
USB-осциллографы АКИП с возможностью выбора разрешения АЦП и анализом смешанных сигналов
Линейка USB-осциллографов АКИП-75000 получила обновление. Представляем новую серию АКИП-75000D. Уникальной особенностью серии АКИП-75000D является возможность выбора аппаратного разрешения аналого-цифровых преобразователей (АЦП): 8 бит, 12 бит, 14 бит, 15 бит, 16 бит, а также наличие моделей с логическим анализатором на 16 каналов (MSO). Все модели обновленной серии для связи с ПК используют высокоскоростной интерфейс USB 3.0 (совместимость с USB 2.0).
Серия АКИП-75000D включает 12 осциллографов с полосами пропускания 60, 100 и 200 МГц, которые отличаются числом входных каналов (2 или 4 аналоговых канала + 16 цифровых каналов) и объемом памяти. Все модели серии снабжены встроенным функциональным и генератором сигналов произвольных форм. Модели только с аналоговыми каналами имеют вход внешней синхронизации, осциллографы смешанных сигналов (MSO) такого входа не имеют.
Осциллографы имеют сегментированную память (запись до 10.000 сегментов), а также поддерживают функцию «USB streaming». Функция представляет собой непрерывную потоковую оцифровку входного сигнала с передачей отсчетов по интерфейсу сразу на управляющий ПК. При использовании программного обеспечения PicoScope 6 максимальная частота дискретизации будет составлять 20 МГц. Ресурсы памяти компьютера для регистрации данных – 100 МБ (установка управляющей программы). Минимальный Кразв, при котором осциллограф переходит в режим сбора данных напрямую на внешний компьютер, выбирается пользователем и может составлять от 200 мс/дел. Максимальное входное напряжение ±20 В (защита входа ±100 DC+ACпик, входной импеданс 1 МОм/ 13 пФ. Краткие технические характеристики моделей серии АКИП-75000D отображены в таблице ниже:
|
АКИП-75242D АКИП-75242D MSO / АКИП-75442D АКИП-75442D MSO |
АКИП-75243D АКИП-75243D MSO / АКИП-75443D АКИП-75443D MSO |
АКИП-75244D АКИП-75244D MSO / АКИП-75444D АКИП-75444D MSO |
|||||
| Число аналоговых каналов |
2 / 4 |
2 / 4 |
2 / 4 |
||||
|
Число цифровых каналов* (только модели с префиксом MSO) |
16* |
16* |
16* |
||||
| Полоса пропускания | Разрешение 8…15 бит | 0…60 МГц | 0…100 МГц | 0…200 МГц | |||
|
Разрешение 16 бит |
0…60 МГц | 0…60 МГц | 0…60 МГц | ||||
| Максимальная частота дискретизации – АЦП | 8 бит – 1 ГГц; 12 бит – 500 МГц; 14/15 бит – 125 МГц; 16 бит – 62,5 МГц. | ||||||
| Эквивалентная частота дискретизации | 2,5 ГГц | 5 ГГц | 10 ГГц | ||||
| Максимальная память - АЦП** |
8 бит: 128 МБ ≥ 12 бит: 64 МБ |
8 бит: 256 МБ ≥ 12 бит: 128 МБ |
8 бит: 512 МБ ≥ 12 бит: 256 МБ |
||||
| Генератор функциональный |
Частота: 0,025 Гц … 20 МГц; уровень: ±2 В Формы сигналов: синус, меандр, треугольник, постоянное напряжение (DC), пила (нарастающая спадающая), Sin(х)/x, колоколообразный, бел. шум, постоянное напряжение, ПСП (PRBS). ГКЧ |
||||||
| Генератор СПФ | Частота дискретизации: 200 МГц. ЦАП: 14 бит. Память: 32 кБ. | ||||||
| Декодирование | 1-Wire, ARINC 429, CAN & CAN-FD, DCC, DMX512, Ethernet 10Base-T and 100Base-TX, FlexRay, I²C, I²S, LIN, PS/2, MODBUS, SENT, SPI, UART (RS-232 / RS-422 / RS-485), USB 1.1 | ||||||
* - модели с префиксом MSO
** - распределяется равномерно между активными каналами.
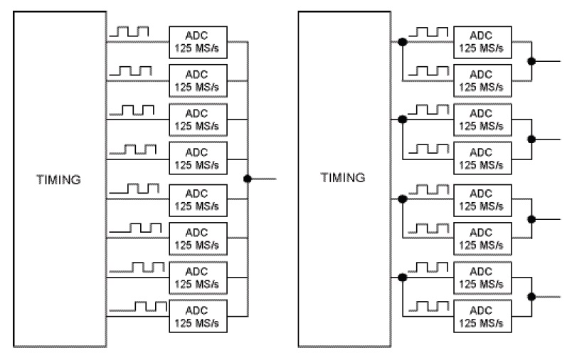
Как и в серии АКИП-75000, в новой серии АКИП-75000D АЦП представляет собой единую мультиплексорную плату сбора данных и при этом является многоядерным. Для 4-канальных моделей USB-осциллографов число ядер дискретизации составляет - 8, для 2-канальных моделей – 4. Это позволило в АКИП-75000D реализовать инновационную технологию объединения нескольких ядер АЦП (последовательно или параллельно) для увеличения частоты дискретизации или реального разрешения по вертикали (соответственно).
Наличие режимов объединения обеспечивает пользователю гибкость в выборе приоритета требуемого параметра, а также высокую адаптивность в решении конкретной измерительной задачи. Например, при объединении ядер АЦП для последовательного опроса входных каналов обеспечивается максимальная частота дискретизации, которая в одноканальном режиме достигает 1 ГГц при разрешении 8 бит (на рис. - слева).
С целью обеспечения требований по минимизации ошибок квантования и достижения максимальной дискретности измерений по вертикали применяется параллельное объединение ядер АЦП. В этом случае разрешение каждого из активных каналов увеличивается до 14 бит с дискретизацией 125 МГц (на рис. - справа). При использовании двух каналов вертикальное разрешение увеличивается до 15 бит, а в одноканальном режиме разрядность АЦП составит 16 бит при максимальной частоте дискретизации 62,5 МГц (режим объединения всех входов).
Питание осциллографов осуществляется по интерфейсу USB 3.0 при работе с двух канальными моделями или от сетевого адаптера при работе с четырех канальными моделями (возможна работа без сетевого адаптера, по интерфейсу USB 3.0, при использовании только двух аналоговых каналов или только MSO).
Внимание! Отсутствие ошибок и опечаток не гарантируется. В технические характеристики средств измерений неутвержденного типа производителем могут быть внесены изменения без предварительного уведомления. Соответствие важных параметров требует уточнения. Полные технические характеристики предоставляются по отдельному запросу. Нашли ошибку? Выделите мышкой и нажмите Ctrl+Enter.

